Rechargement dans le module d’une recette modifiée
L'instruction WRITE_PARAM permet le chargement des paramètres d'une modifiée
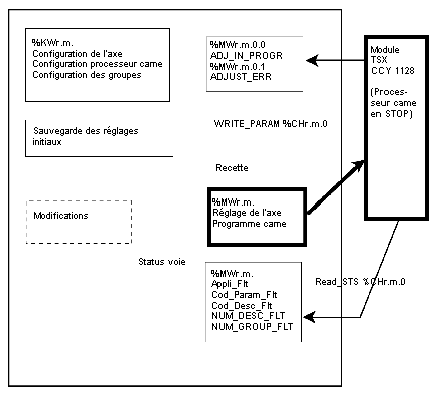
L’ensemble des données de réglage de la recette est transmis au module par la fonction WRITE_PARAM . Le processeur est mis en STOP.
Si l’échange est défectueux, le module reste en STOP.
Compte-rendu de transfert
Pendant le transfert, le bit %MWr.m.0.0.2 Adj_In_Prog est à 1.
A la fin de l’échange, le bit Adjust_err (bit %MWr.m.0.1.2) est mis à 1 si l’échange ne s’est pas passé correctement. La fonction READ_STS permet le rafraîchissement du status voie.
On y trouve les informations :
-
Appli_Flt : le module a refusé la nouvelle recette. La fonction came ne peut être activée. Toutefois, les anciens paramètres contenus dans le module peuvent être sauvegardés par la fonction READ_PARAM.
-
Cod_Param_Flt : code d’erreur trouvé par le module sur une donnée de ou de réglage de la partie .
-
Cod_Desc_Flt : code d’erreur trouvé par le module sur une donnée de configuration ou de réglage de la partie descripteur ou came.
-
Num_Desc_Flt : code le numéro de piste ou de came qui contient une erreur de description.
-
Num_Group_Flt : code le numéro de groupe qui contient la piste ou la came qui contient une erreur de description.