
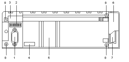
|
Number
|
Description
|
|---|---|
|
1
|
9 pin male SUB D connector for connecting to the Fipio bus, via the TBX BLP 01 connector.
|
|
2
|
8 dip-switches for setting the Fipio connection point address.
|
|
3
|
Memo label for the Fipio connection point address setting.
|
|
4
|
Location for customer's Connection point address and Module number identification label.
|
|
5
|
Display block for the basic and extension modules.
|
|
6
|
Access hatch to extension connection.
|
|
7
|
32-pin female 1/2 DIN connector for connecting the extension base unit.
|
|
8
|
4 screws for fixing the communication module to the base unit.
|
|
TBX LEP ••• Module
|
|
|---|---|
|
Nominal voltage
|
24 VDC or 48 VDC
|
|
Supply voltage
|
19.2 VDC to 60 VDC
|
|
Current drawn
|
70 mA at 24 VDC, 35 mA at 48 VDC
|
|
Power dissipated in the module
|
1.7 W
|
|
Dielectric strength between FIP line and ground.
|
500 VAC 50/60 Hz for 1 min
|
|
Dielectric strength between the associated base unit I/O and ground.
|
1500 VAC 50/60 Hz for 1 min
|
|
Protection against a reverse polarity on +SV
|
Yes, via diode in series
|