Loading is triggered by a call from the application program.
Loading defines word %MW800. We will use a variable Channel_0 of type IODDT T_CCY_GROUP0
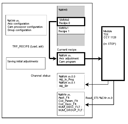
Action {Load} TRF_RECIPE (Channel_0,0,800) or
%MW0:= 800; TRF_RECIPE (Channel_0,0,%MW0)
During the transfer, the bit (x15) Adj_In_ Prog is set to 1.
At the end of the exchange, the Adjust_err bit is set to 1 if the exchange has not been successful. The READ_STS function is used to update the channel status.
It contains the following data:
-
Appli_FLT : the module refused the new recipe. The function cannot be activated. However, the old parameters contained in the module can be retrieved using the READ_PARAM instruction.
-
Cod_Param_Flt: error code found by the module in a or adjustment data item in the . part.
-
Cod_Desc_Flt: error code found by the module in a configuration or adjustment data item in the or cam descriptor part.
-
NUM_DESC_FLT: codes the track or cam number containing a description error.
-
NUM_GROUP_FLT: codes the group number which contains the track or cam containing a description error.