How to install the module on a PC
(Original Document)
Prerequisites
Before installing cards in a PC, turn the host PC off and open the cover.
The implementation of a TSX IBX 100 card first requires the installation of a TSX PCI 57 ••• type processor on the host PC. See Hardware compatibility.
It is advisable to refer back to the TSX PCI 57 ••• processor installation guide if it is not already installed in the host PC.
Procedure
The following procedure describes how to install a TSX IBX 100 module on a PC and the link with the TSX PCI 57 ••• processor.
Step
Action
Illustration
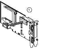
1
Remove the A/ line terminator on the TSX PCI 57 processor from its slot.
2
Replace it with the daughterboard provided with the TSX IBX 100 card.
3
Connect the cable provided to the specified location on the TSX IBX 100 card.
4
Place the centering and fixing feet provided on the TSX IBX 100 card.
5
Put the A/ line terminator (retrieved from the processor) on the TSX IBX 100 card.
6
Connect the TSX IBX 100 card to the ISA bus.
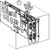
7
Fix the TSX IBX 100 card to the PC.
8
Connect the ribbon cable to the connector on the daughterboard installed in Step 2
9
Close the cover and power up the PC.